时间:2025-03-10 12:53:05来源:银本软件园
3 月 7 日消息,科技媒体 patentlyapple 昨日(3 月 6 日)发布博文,报道称苹果获批名为“液冷相机模块”专利,通过将液体引入相机模块内部,解决传统相机模块在散热、稳定性和耐用性方面的不足。

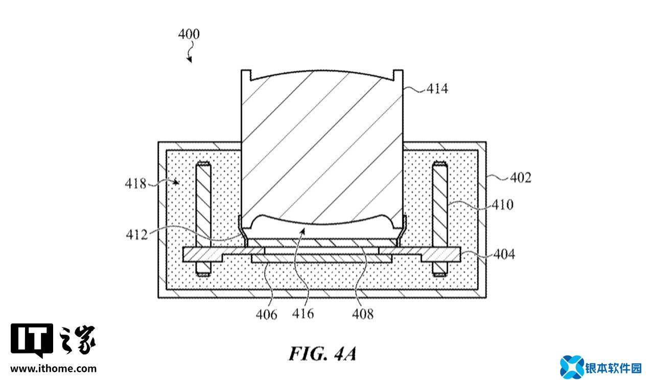
传统相机模块中的图像传感器、驱动器和电子元件在运行时会产生大量热量,导致性能受限。苹果的专利通过在相机模块中注入液体(如矿物油),利用液体作为散热介质,吸收并分散热量,从而延长高性能模式的使用时间,避免因过热导致的自动关机。
苹果在专利中还认为,液体还能有效缓冲相机模块内部组件的震动,减少因外部冲击或振动造成的损坏。例如,当设备跌落时,液体可以减缓组件之间的相对运动速度,降低碰撞力,从而保护相机模块的精密部件。附上相关图片如下:



专利中描述了相机模块的独特结构,包括支持图像传感器的基板以及红外滤光片的布局。这种设计不仅优化了光路,还为液体的引入提供了空间,进一步提升了相机的整体性能。
网发此文仅为传递信息,不代表认同其观点或证实其描述。同时文中图片应用自网络,如有侵权请联系删除。